产品详情
VLB30E 宽支腿调距叉堆垛移动机器人
产品详情

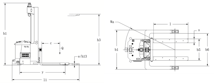
技术规格 Specifications


VLB30E

额定载荷 Load capacity

Q(kg)

3000

车体自重 Service weight

kg

2500

载荷中心距 Load center

c(mm)

750

轴距 Wheelbase

y(mm)

1875

车体尺寸 Overall dimensions

l1/b1/h1(mm)

2759/1730/2561

货叉尺寸 Fork dimensions

e/s/l(mm)

65/170/1520

货叉外间距 Fork spread

b5(mm)

350-1250

跨支腿内宽 Width between support arm

b6(mm)

1450

低位时货叉高度 Fork height, lowered

h13(mm)

75

提升高度 Lift height

h3(mm)

1600

最小转弯半径 Turning radius

Wa(mm)

2186

行驶速度 Travel speed

m/s

0-1.5

定位精度 Positioning accuracy

mm

±10

电池电压/容量 Battery voltage/capacity

V/Ah

24/210